来源 :犀牛之星2025-08-18
8月18日消息,据北交所公开信息显示,曙光数创(872808)今日上涨29.99%,换手率达8.76%,累计成交15.55亿元登上龙虎榜。
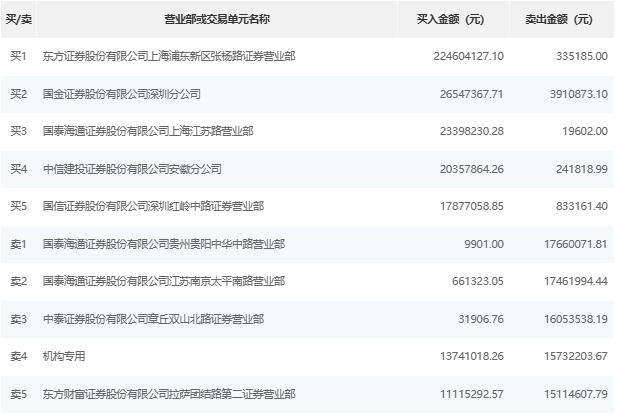
根据龙虎榜交易数据显示,买一为东方证券股份有限公司上海浦东新区张杨路证券营业部,买入2.25亿元。买二为东亚前海证券有限责任公司苏州分公司,买入2654.74万元。卖出方面,卖一为国泰海通证券股份有限公司贵州贵阳中华中路营业部,卖出1766.01万元。卖二为国泰海通证券股份有限公司江苏南京太平南路营业部,卖出1746.20万元。

