来源 :犀牛之星2024-07-17
7月17日消息,据北交所公开信息显示,中纺标(873122)今日上涨29.99%,换手率为32.27%,累计成交2.75亿元登上龙虎榜。
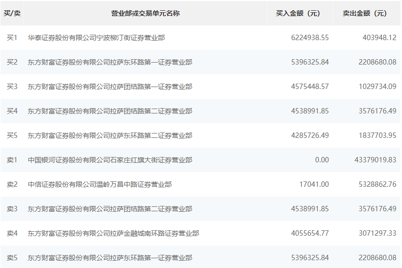
根据龙虎榜交易数据显示,买入方面,买一为华泰证券股份有限公司宁波柳汀街证券营业部,买入622.49万元,卖出40.39万元。买二为东方财富证券股份有限公司拉萨东环路第一证券营业部,买入539.63万元,卖出220.86万元。卖出方面,卖一为中国银河证券股份有限公司石家庄红旗大街证券营业部,卖出4337.9万元。卖二为中信证券股份有限公司温岭万昌中路证券营业部,卖出532.88万元,买入1.7万元。

