来源 :犀牛之星2024-11-08
11月8日消息,据北交所公开信息显示,七丰精工(873169)今日上涨29.99%,换手率为31.56%,累计成交3.07亿元登上龙虎榜。
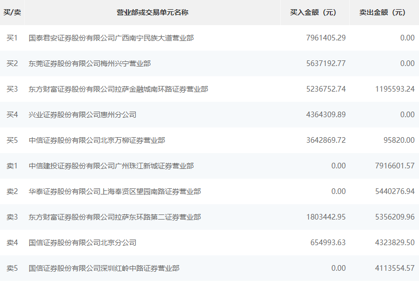
根据龙虎榜交易数据显示,买入方面,买一为国泰君安证券股份有限公司广西南宁民族大道营业部,买入796.14万元。买二为东莞证券股份有限公司梅州兴宁营业部,买入563.71万元。卖出方面,卖一为中信建投证券股份有限公司广州珠江新城证券营业部,卖出791.66万元。卖二为华泰证券股份有限公司上海奉贤区望园南路证券营业部,卖出544.02万元。

