来源 :犀牛之星2023-11-09
11月9日消息,据北交所公开信息显示,美心翼申(873833)今日下跌21.73%,换手率为29.61%,累计成交1.07亿元登上龙虎榜。
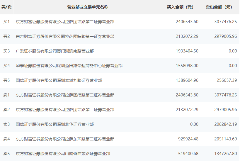
根据龙虎榜交易数据显示,买入方面,买一为东方财富证券股份有限公司拉萨团结路第二证券营业部,买入240.65万元,卖出307.74万元。买二为东方财富证券股份有限公司拉萨团结路第一证券营业部,买入213.2万元,卖出297.9万元。卖出方面,卖一为东方财富证券股份有限公司拉萨团结路第二证券营业部,卖出307.74万元,买入240.65万元。卖二为东方财富证券股份有限公司拉萨团结路第一证券营业部,卖出297.9万元,买入213.2万元。

